Samsung готовит революцию в складных смартфонах: новый патент раскрывает амбициозные планы
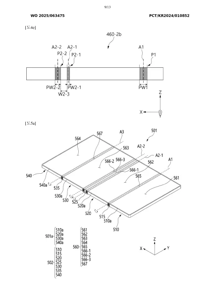
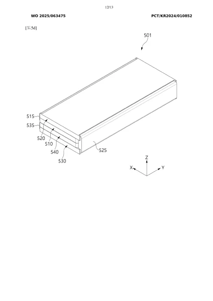
Компания Samsung уже давно лидирует в сегменте складных смартфонов, но ее амбиции, похоже, выходят за рамки привычного. Новый патент, обнаруженный SamMobile, указывает на устройство с тремя шарнирами, которое может складываться и раскладываться четыре раза. Такой дизайн позволит превратить смартфон в полноценный планшет.


Как это будет работать?
- Три петли обеспечивают сложение экрана в четыре раза.
- В сложенном виде гаджет будет напоминать современный телефон, но заметно толще.
- В разложенном виде он может предложить дисплей размером с планшет.
- Вопрос с экранами: будет ли внутренний дисплей работать при частичном сложении?
Новый стандарт для складных смартфонов?
Хотя Samsung официально не анонсировала подобное устройство, появление такого патента говорит о серьезных разработках. Если компания действительно выпустит складной смартфон с таким дизайном, это может перевернуть рынок планшетов и задать новый стандарт для многофункциональных устройств.
Что это значит для пользователей?
- Максимальная гибкость – одно устройство может заменить и смартфон, и планшет.
- Больше возможностей для работы и развлечений – на одном экране можно запускать разные приложения.
- Футуристичный дизайн – необычный формат привлечет внимание к новой технологии.
Пока неизвестно, появится ли такой смартфон на рынке, но одно ясно – Samsung не собирается останавливаться на достигнутом и продолжает удивлять новыми инновациями.












